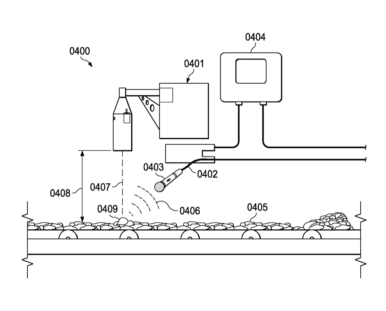
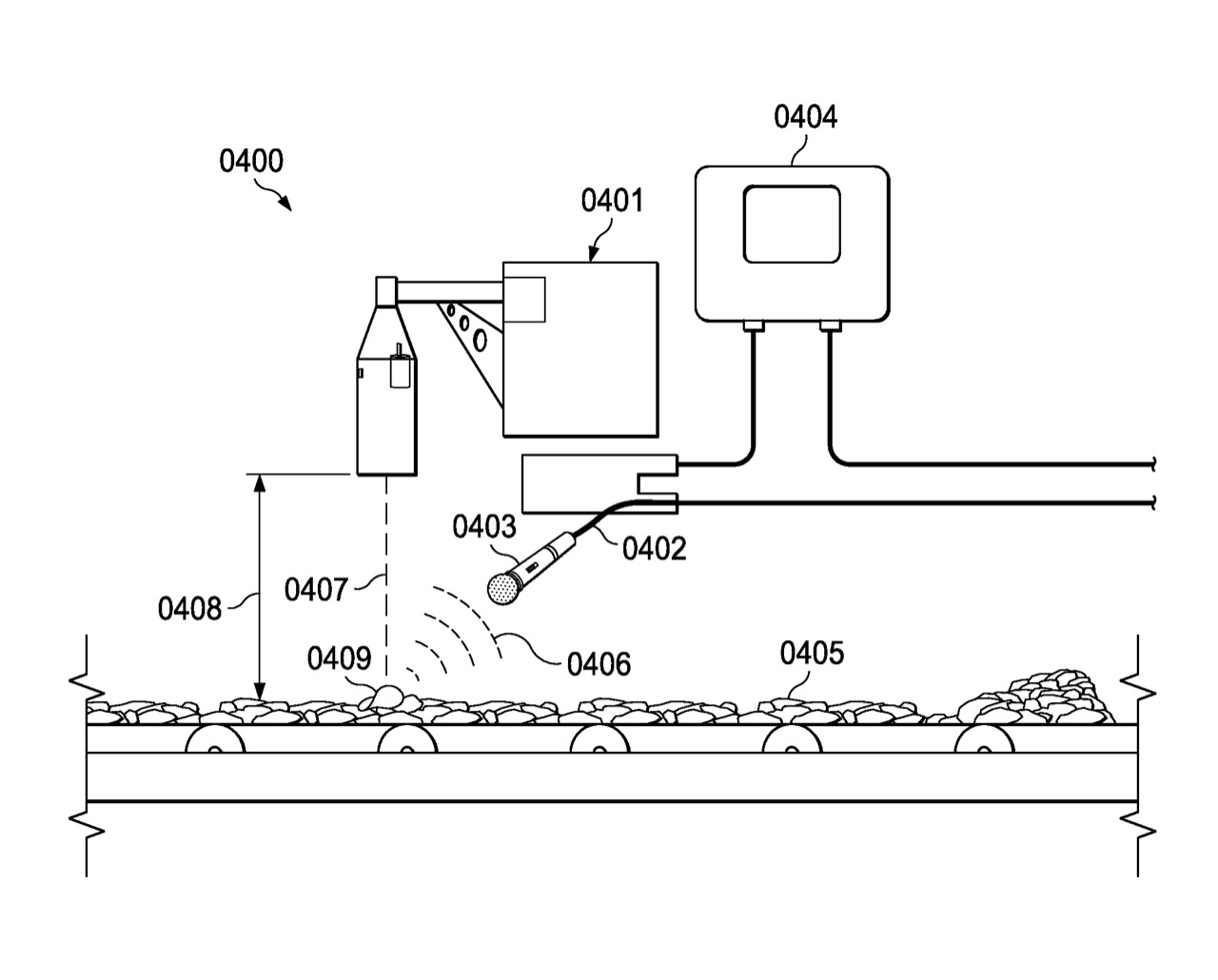
In early 2019, I interviewed Shahmeer Mirza, senior research and development engineer at PepsiCo., about his work with machine learning at Frito-Lay, a subsidiary of PepsiCo. In the interview, Mirza described the machine learning applications he developed to sense the texture of chips without destroying them and to calculate the weight of potatoes being processed with the use of a vision system rather than industrial weighing devices connected to the conveyor.
Based on web traffic to this article, this article ranked as the #1 most visited article on the Automation World site in 2019.
Click here to view the article: How Frito-Lay Applies Machine Learning
About the Author
David Greenfield, editor in chief
Editor in Chief
David Greenfield joined Automation World in June 2011. Bringing a wealth of industry knowledge and media experience to his position, David’s contributions can be found in AW’s print and online editions and custom projects. Earlier in his career, David was Editorial Director of Design News at UBM Electronics, and prior to joining UBM, he was Editorial Director of Control Engineering at Reed Business Information, where he also worked on Manufacturing Business Technology as Publisher.
Sign up for our eNewsletters
Get the latest news and updates

Leaders relevant to this article:

